Задвижки ЗКС под приварку (муфтовые) Дн15-50 Рн 16-160
Диаметр условного проход:от 10 до 50 мм
Условное давление:1.6 МПА
Рабочая среда:Вода, пар, нефтявые продукты
Температура рабочей среды:До 425 градусов (углеродистые стали),
До 525 градусов (нержавеющие стали)
Класс герметичности: А по Гост 9544-2015
Диаметр условного проход:от 10 до 50 мм
Условное давление:1.6 МПА
Рабочая среда:Вода, пар, нефтявые продукты
Температура рабочей среды:До 425 градусов (углеродистые стали),
До 525 градусов (нержавеющие стали)
Класс герметичности: А по Гост 9544-2015
Конструкция:с выдвижным шпинделем
Материал корпуса:сталь(с), легированная сталь(лс),нержавеющая сталь (нж)
Тип управления:ручное(маховик),редуктор(5),электропривод(9)
Материал Уплотнение:меттал по метталу(нж),PTFE
Тип присоединение:фланцевое, под приварку, муфтовые
Материалы основных деталей
Корпус:Сталь 20 (А105), 09Г2C( 16MN),LF2,F11,F22,F5,F304,F321,F316L,F316Ti
Клин:Сталь 20 (А105), 09Г2C( 16MN),LF2,F11,F22,F5,F304,F321,F316L,F316Ti
Крышка:Сталь 20Л, 25Л,20ГЛ,12Х18Н9,12Х18Н9ТЛ,10Х17Н13М2Т
Шпиндель:Сталь 20Х13,12Х18Н9,12Х18Н9ТЛ
Прокладка:ТРГ
Наплавка на клине:Сталь 20х13,Сталь 547 (Mo),Стеллик
Наплавка на корпусе:Сталь 20х13,Сталь 547 (Mo),Стеллик

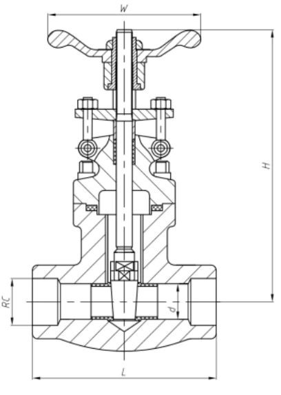
Основные технические характеристики
| PN | DN | DN | L | W | H | d | weight/кг | |
| 31с41нж 31лс41нж 31нж41нж | 16 | DN15 | DN10F | 79 | 100 | 161 | 10.5 | 1.7 |
| 16 | DN20 | DN15F | 92 | 100 | 163 | 13.5 | 1.9 | |
| 16 | DN25 | DN20F | 111 | 125 | 196 | 18 | 3.4 | |
| 16 | DN32 | DN25F | 120 | 160 | 223 | 24 | 5.0 | |
| 16 | DN40 | DN32F | 120/152 | 160 | 251 | 29 | 5.8/6.5 | |
| 16 | DN50 | DN40F | 140/172 | 180 | 290 | 36.5 | 8.5/10 | |
| 31с64нж 31лс64нж 31нж64нж | 25 | DN15 | DN10F | 79 | 100 | 161 | 10.5 | 1.7 |
| 25 | DN20 | DN15F | 92 | 100 | 163 | 13.5 | 1.9 | |
| 25 | DN25 | DN20F | 111 | 125 | 196 | 18 | 3.4 | |
| 25 | DN32 | DN25F | 120 | 160 | 223 | 24 | 5.0 | |
| 25 | DN40 | DN32F | 120/152 | 160 | 251 | 29 | 5.8/6.5 | |
| 25 | DN50 | DN40F | 140/172 | 180 | 290 | 36.5 | 8.5/10 | |
| 31с15нж 31лс15нж 31нж15нж | 40 | DN15 | DN10F | 79 | 100 | 161 | 10.5 | 1.7 |
| 40 | DN20 | DN15F | 92 | 100 | 163 | 13.5 | 1.9 | |
| 40 | DN25 | DN20F | 111 | 125 | 196 | 18 | 3.4 | |
| 40 | DN32 | DN25F | 120 | 160 | 223 | 24 | 5.0 | |
| 40 | DN40 | DN32F | 120/152 | 160 | 251 | 29 | 5.8/6.5 | |
| 40 | DN50 | DN40F | 140/172 | 180 | 290 | 36.5 | 8.5/10 | |
| 31с76нж 31лс76нж 31нж76нж | 63 | DN15 | DN10F | 79 | 100 | 161 | 10.5 | 1.7 |
| 63 | DN20 | DN15F | 92 | 100 | 163 | 13.5 | 1.9 | |
| 63 | DN25 | DN20F | 111 | 125 | 196 | 18 | 3.4 | |
| 63 | DN32 | DN25F | 120 | 160 | 223 | 24 | 5.0 | |
| 63 | DN40 | DN32F | 120/152 | 160 | 251 | 29 | 5.8/6.5 | |
| 63 | DN50 | DN40F | 140/172 | 180 | 290 | 36.5 | 8.5/10 | |
| 31с45нж 31лс45нж 31нж45нж | 100 | DN15 | DN10F | 79 | 100 | 161 | 10.5 | 1.7 |
| 100 | DN20 | DN15F | 92 | 100 | 163 | 13.5 | 1.9 | |
| 100 | DN25 | DN20F | 111 | 125 | 196 | 18 | 3.4 | |
| 100 | DN32 | DN25F | 120 | 160 | 223 | 24 | 5.0 | |
| 100 | DN40 | DN32F | 120/152 | 160 | 251 | 29 | 5.8/6.5 | |
| 100 | DN50 | DN40F | 140/172 | 180 | 290 | 36.5 | 8.5/10 | |
| 31с45нж 31лс45нж 31нж45нж | 160 | DN15 | DN10F | 79 | 100 | 161 | 10.5 | 1.7 |
| 160 | DN20 | DN15F | 92 | 100 | 163 | 13.5 | 1.9 | |
| 160 | DN25 | DN20F | 111 | 125 | 196 | 18 | 3.4 | |
| 160 | DN32 | DN25F | 120 | 160 | 223 | 24 | 5.0 | |
| 160 | DN40 | DN32F | 120/152 | 160 | 251 | 29 | 5.8/6.5 | |
| 160 | DN50 | DN40F | 140/172 | 180 | 290 | 36.5 | 8.5/10 |
Информационые обмены

Мы активно участвуем в различных отраслевых выставках, встречах по обмену и т. Д., Глубоко понимаем динамику отраслевых продуктов, онлайн-общение и проверки на местах, а также активно работаем над оптимизацией продуктов и техническими обновлениями, чтобы лучше соответствовать различным потребностям клиенты.Упаковка, доставка и оплата

Часто задаваемые вопросы
Q1: Какой срок производства ?
A.Это зависит от объема заказа.Обычно на ходовые позиции нужно 30 дней , если в складу есть в
наличии , сможем отправлять в течении 5-7 дней .
Q2: вы являетесь торговая компания или производитель?
A: Мы являемся производителем по запорной арматуре.
Q3: Можете ли вы производить по нашим чертежам?
A: Да, пожалуйста, отправьте нам свой собственный черновик. OEM-товары приветствуются.
Q4: У вас есть агент или представитель за границей?
A: У нас нет агента за границей.
Q5: Сможем ли мы отливать логотип на изделиях ?
A: Да, OEM доступен с разрешения наших клиентов.
Q6: какая у вас условия оплаты?
A: T / T или L / C, если вам нужен другой способ, пожалуйста, свяжитесь с нами.
Q7: каков ваш основной рынок?
A: Восточная Европа, Юго-Восточная Азия, Африка, Океания, Средний Восток, Восточная Азия, Западная Европа, Северная Америка, Южная Америка и так далее.
Q8: Что я могу получить от сотрудничества?
1. Уникальные клапаны с индивидуальным обслуживанием.
2. Своевременное изготовление и поставка, время - деньги.
3. Служба защиты рынка, долгосрочная бизнес-стратегия.
Если у вас есть какие-либо вопросы или вопросы, пожалуйста, свяжитесь с нами.
Получить предложение
Если вас интересуют наши продукты и вы хотите узнать больше деталей, пожалуйста, оставьте сообщение здесь, мы ответим вам как можно скорее.



