Задвижка клиновая стальная с выдвижным шпинделем DN50-1400 PN25
Диаметр условного проход:от 50 до 1400 мм
Условное давление:2.5 МПА
Рабочая среда:Вода, пар, нефтявые продукты
Температура рабочей среды:До 425 градусов (углеродистые стали)
До 525 градусов (нержавеющие стали)
Класс герметичности: А по Гост 9544-2015
S серия Облегченая серия
F серия Тяжелая серия, с полным проходом
Диаметр условного прохода:от 50 до 1400 мм
Условное давление:2.5 МПА
Рабочая среда:Вода, пар, нефтявые продукты
Температура рабочей среды:До 425 градусов (углеродистые стали)
До 525 градусов (нержавеющие стали)
Класс герметичности: А по Гост 9544-2015
S серия Облегченая серия
F серия Тяжелая серия, с полным проходом
| PN | УПРАВЛЕНИЕ | УГЛEPOДИCTAЯ СТАЛЬ(С) | ЛЕГИРОВАННАЯ СТАЛЬ(ЛС) | НЕРЖАВЕЮЩАЯ СТАЛЬ(НЖ) |
| PN25 | маховик | 30с64нж | 30лс64нж | 30нж64нж |
| редуктор | 30с564нж | 30лс564нж | 30нж564нж | |
| электропривод | 30с964нж | 30лс964нж | 30нж964нж |
![]() |
![]() |
![]() |
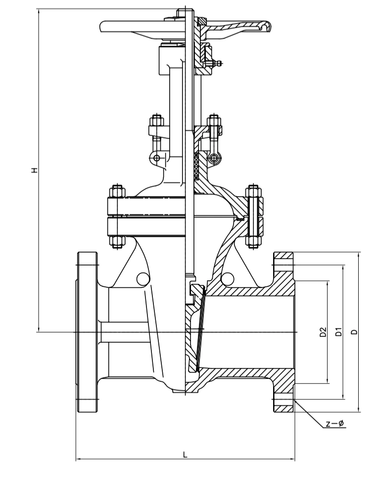
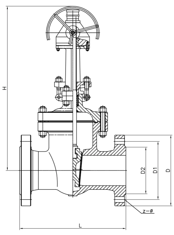
Основные технические характеристики
| PN | DN | L1 | L2 | L3 | D | D1 | D2 | z-ф | H | Масса,кг | Тип эл привод | Крутящий момент | Количество оборота шпинделя |
| 25 | 50 | 250 | 180 | 216 | 160 | 125 | 100 | 4-18 | 358 | 17 | Тип А | 52 | 14 |
| 25 | 80 | 280 | 210 | 283 | 195 | 160 | 135 | 8-18 | 435 | 28 | Тип А | 60 | 24 |
| 25 | 100 | 300 | 230 | 305 | 230 | 190 | 160 | 8-23 | 500 | 35 | Тип А | 86 | 23 |
| 25 | 125 | 325 | 255 | 381 | 270 | 220 | 188 | 8-25 | 614 | 42 | Тип А | 100 | 28 |
| 25 | 150 | 350 | 280 | 403 | 300 | 250 | 218 | 8-25 | 674 | 90 | Тип А | 120 | 30 |
| 25 | 200 | 400 | 330 | 419 | 360 | 310 | 278 | 12-25 | 811 | 110 | Тип Б | 210 | 38 |
| 25 | 250 | 450 | - | 457 | 425 | 370 | 332 | 12-30 | 969 | 180 | Тип Б | 280 | 48 |
| 25 | 300 | 500 | - | 502 | 485 | 430 | 390 | 16-30 | 1145 | 280 | Тип В | 600 | 57 |
| 25 | 350 | 550 | - | - | 550 | 490 | 448 | 16-34 | 1280 | 320 | Тип В | 600 | 58 |
| 25 | 400 | 600 | - | - | 610 | 550 | 505 | 16-34 | 1452 | 480 | Тип В | 900 | 66 |
| 25 | 500 | 700 | - | - | 730 | 660 | 610 | 20-41 | 1676 | 820 | Тип Г | 1200 | 62.5 |
| 25 | 600 | 800 | - | - | 840 | 770 | 718 | 20-41 | 1874 | 1250 | Тип Г | 1800 | 75 |
| 25 | 700 | 900 | - | - | 955 | 875 | 815 | 24-48 | 2083 | 1600 | Тип Г | 2500 | 87.5 |
| 25 | 800 | 1000 | - | - | 1070 | 990 | 930 | 24-48 | 2400 | 2400 | Тип Д | 2800 | 80 |
| 25 | 1000 | 1200 | - | - | 1305 | 1210 | 1140 | 28-58 | 3245 | 3400 | Тип Д | 3500 | 83 |
| 25 | 1200 | 1400 | - | - | 1485 | 1390 | 1330 | 32-52 | 3800 | 5000 | Тип Д | 8000 | 100 |
| 25 | 1400 | 1600 | - | - | 1685 | 1590 | 1550 | 32-52 | 4500 | 6000 | Тип Д | 10000 | 116 |

Информационые обмены

Мы активно участвуем в различных отраслевых выставках, встречах по обмену и т. Д., Глубоко понимаем динамику отраслевых продуктов, онлайн-общение и проверки на местах, а также активно работаем над оптимизацией продуктов и техническими обновлениями, чтобы лучше соответствовать различным потребностям клиенты.
Упаковка, доставка и оплата

Часто задаваемые вопросы
Q1:Какой срок производства ?
A.Это зависит от объема заказа.Обычно на ходовые позиции нужно 30 дней , если в складу есть в
наличии , сможем отправлять в течении 5-7 дней .
Q2: вы являетесь торговая компания или производитель?
A: Мы являемся производителем по запорной арматуре.
Q3: Можете ли вы производить по нашим чертежам?
A: Да, пожалуйста, отправьте нам свой собственный черновик. OEM-товары приветствуются.
Q4: У вас есть агент или представитель за границей?
A: У нас нет агента за границей.
Q5: Сможем ли мы отливать логотип на изделиях ?
A: Да, OEM доступен с разрешения наших клиентов.
Q6:какая у вас условия оплаты?
A: T / T или L / C, если вам нужен другой способ, пожалуйста, свяжитесь с нами.
Q7: каков ваш основной рынок?
A: Восточная Европа, Юго-Восточная Азия, Африка, Океания, Средний Восток, Восточная Азия, Западная Европа, Северная Америка, Южная Америка и так далее.
Q8: Что я могу получить от сотрудничества?
1. Уникальные клапаны с индивидуальным обслуживанием.
2. Своевременное изготовление и поставка, время - деньги.
3. Служба защиты рынка, долгосрочная бизнес-стратегия.
Если у вас есть какие-либо вопросы или вопросы, пожалуйста, свяжитесь с нами.
Получить предложение
Если вас интересуют наши продукты и вы хотите узнать больше деталей, пожалуйста, оставьте сообщение здесь, мы ответим вам как можно скорее.





