Клапаны(вентили)запорные сальниковые DN10-600 PN25
Диаметр условного проход:от 10 до 600 мм
Условное давление:2.5 МПА
Рабочая среда:Вода, пар, нефтявые продукты
Температура рабочей среды:До 425 градусов (углеродистые стали)
До 525 градусов (нержавеющие стали)
Класс герметичности: А по Гост 9544-2015
S серия Облегченая серия
F серия Тяжелая серия
Диаметр условного прохода:от 10 до 600 мм
Условное давление:2.5 МПА
Рабочая среда:Вода, пар, нефтявые продукты
Температура рабочей среды:До 425 градусов (углеродистые стали)
До 525 градусов (нержавеющие стали)
Класс герметичности: А по Гост 9544-2015
S серия Облегченая серия
F серия Тяжелая серия
| Материал корпуса | УГЛEPOДИCTAЯ СТАЛЬ(С) | ЛЕГИРОВАННАЯ СТАЛЬ(ЛС) | НЕРЖАВЕЮЩАЯ СТАЛЬ(НЖ) | ||||
| PN | УПРАВЛЕНИЕ | п | нж | п | нж | п | нж |
| PN25 | маховик | 15с18п | 15с18нж | 15лс18п | 15лс18нж | 15нж18п | 15нж18нж |
| редуктор | 15с518п | 15с518нж | 15лс518п | 15лс518нж | 15нж518п | 15нж518нж | |
| электропривод | 15с918п | 15с918нж | 15лс918п | 15лс918нж | 15нж918п | 15нж918нж | |

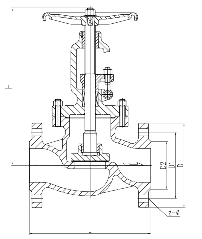
Основные технические характеристики
| PN | DN | L | D | D1 | D2 | z-ф | H | Масса,кг |
| 25 | 10 | 130 | 95 | 65 | 45 | 4-14 | 218 | 4.5 |
| 25 | 15 | 130 | 95 | 65 | 45 | 4-14 | 218 | 4.75 |
| 25 | 20 | 150 | 105 | 75 | 55 | 4-14 | 230 | 5.75 |
| 25 | 25 | 160 | 115 | 85 | 65 | 4-14 | 240 | 7 |
| 25 | 32 | 180 | 135 | 100 | 78 | 4-18 | 250 | 10 |
| 25 | 40 | 200 | 145 | 110 | 85 | 4-18 | 262 | 10.4 |
| 25 | 50 | 230 | 160 | 125 | 100 | 4-18 | 280 | 13.5 |
| 25 | 65 | 290 | 180 | 145 | 120 | 4-18 | 327 | 18 |
| 25 | 80 | 310 | 195 | 160 | 135 | 8-18 | 355 | 23 |
| 25 | 100 | 350 | 215 | 180 | 155 | 8-18 | 416 | 33 |
| 25 | 125 | 400 | 245 | 210 | 185 | 8-18 | 460 | 48 |
| 25 | 150 | 480 | 280 | 240 | 210 | 8-23 | 510 | 65 |
| 25 | 200 | 600 | 335 | 295 | 265 | 12-23 | 588 | 90 |
| 25 | 250 | 650 | 425 | 370 | 332 | 12-30 | 786 | 155 |
| 25 | 300 | 750 | 485 | 430 | 390 | 16-30 | 925 | 250 |
| 25 | 350 | 850 | 550 | 490 | 448 | 16-34 | 1030 | 430 |
| 25 | 400 | 950 | 610 | 550 | 505 | 16-41 | 1170 | 530 |
| 25 | 450 | 1050 | 660 | 600 | 555 | 20-34 | 1220 | 630 |
| 25 | 500 | 1150 | 730 | 660 | 610 | 20-41 | 1450 | 8/00 |
| 25 | 600 | 1350 | 840 | 770 | 718 | 20-41 | 1810 | 1400 |
Информационые обмены

Мы активно участвуем в различных отраслевых выставках, встречах по обмену и т. Д., Глубоко понимаем динамику отраслевых продуктов, онлайн-общение и проверки на местах, а также активно работаем над оптимизацией продуктов и техническими обновлениями, чтобы лучше соответствовать различным потребностям клиенты.
Упаковка, доставка и оплата

Часто задаваемые вопросы
Q1: Какой срок производства ?
A.Это зависит от объема заказа.Обычно на ходовые позиции нужно 30 дней , если в складу есть в
наличии , сможем отправлять в течении 5-7 дней .
Q2: вы являетесь торговая компания или производитель?
A: Мы являемся производителем по запорной арматуре.
Q3: Можете ли вы производить по нашим чертежам?
A: Да, пожалуйста, отправьте нам свой собственный черновик. OEM-товары приветствуются.
Q4: У вас есть агент или представитель за границей?
A: У нас нет агента за границей.
Q5: Сможем ли мы отливать логотип на изделиях ?
A: Да, OEM доступен с разрешения наших клиентов.
Q6: какая у вас условия оплаты?
A: T / T или L / C, если вам нужен другой способ, пожалуйста, свяжитесь с нами.
Q7: каков ваш основной рынок?
A: Восточная Европа, Юго-Восточная Азия, Африка, Океания, Средний Восток, Восточная Азия, Западная Европа, Северная Америка, Южная Америка и так далее.
Q8: Что я могу получить от сотрудничества?
1. Уникальные клапаны с индивидуальным обслуживанием.
2. Своевременное изготовление и поставка, время - деньги.
3. Служба защиты рынка, долгосрочная бизнес-стратегия.
Если у вас есть какие-либо вопросы или вопросы, пожалуйста, свяжитесь с нами.
Получить предложение
Если вас интересуют наши продукты и вы хотите узнать больше деталей, пожалуйста, оставьте сообщение здесь, мы ответим вам как можно скорее.



