Энергические клапаны
Герметичность затвора:по классу А ГОСТ 9544-2015.
Климат. исполнение:У, УХЛ, Т по ГОСТ 15150-69.
Категория размещения:1, 2, 3 по ГОСТ 15150-69.
Присоединение к трубопроводу:под сварку.
Установочное положение на трубопроводе:любое, в верхней полусфере относительно горловины. Клапаны (вентили) предназначены для наружной установки и установки в закрытых помещениях.
Направление подачи рабочей среды:рекомендуется под затвор.
Герметичность затвора:по классу А ГОСТ 9544-2015.
Климат. исполнение:У, УХЛ, Т по ГОСТ 15150-69.
Категория размещения:1, 2, 3 по ГОСТ 15150-69.
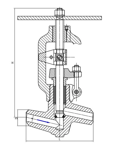
Клапан (вентиль) запорный под приварку ручной :
998-20-0 DN 20 PN 37,3 МПа Т280 °С, корпус ст. 20
Клапан (вентиль) запорный под приварку ручной :
588-10-0 DN 10 PN 37,3 МПа Т280 °С, корпус ст. 20
Клапан (вентиль) запорный под приварку ручной :
999-20-0 DN 20 PN 25 МПа Т545 °С, корпус ст. 12X1MФ
Клапан (вентиль) запорный под приварку ручной :
589-10-0 DN 10 PN 25 МПа Т545 °С, корпус ст.12X1MФ
![]() |
![]() |
| DN | PN | L,мм: | Тp,ºC | Материал | Mkr.,H·m, | Вес., не более | H, мм: | Масса , кг | |
| 998-20-0 | 20 | 373 | 160 | 280 | 20 | 80 | 5 | 260 | 6.2 |
| 588-10-0 | 10 | 373 | 110 | 280 | 20 | 25 | 3,8 | 200 | 3.2 |
| 999-20-0 | 20 | 250 | 160 | 545 | 12Х1МФ | 80 | 5 | 260 | 6.2 |
| 589-10-0 | 10 | 250 | 110 | 545 | 12Х1МФ | 25 | 3,8 | 200 | 3.2 |
Информационые обмены

Мы активно участвуем в различных отраслевых выставках, встречах по обмену и т. Д., Глубоко понимаем динамику отраслевых продуктов, онлайн-общение и проверки на местах, а также активно работаем над оптимизацией продуктов и техническими обновлениями, чтобы лучше соответствовать различным потребностям клиенты.
Упаковка, доставка и оплата

Часто задаваемые вопросы
Q1: Какой срок производства ?
A.Это зависит от объема заказа.Обычно на ходовые позиции нужно 30 дней , если в складу есть в
наличии , сможем отправлять в течении 5-7 дней .
Q2: вы являетесь торговая компания или производитель?
A: Мы являемся производителем по запорной арматуре.
Q3: Можете ли вы производить по нашим чертежам?
A: Да, пожалуйста, отправьте нам свой собственный черновик. OEM-товары приветствуются.
Q4: У вас есть агент или представитель за границей?
A: У нас нет агента за границей.
Q5: Сможем ли мы отливать логотип на изделиях ?
A: Да, OEM доступен с разрешения наших клиентов.
Q6: какая у вас условия оплаты?
A: T / T или L / C, если вам нужен другой способ, пожалуйста, свяжитесь с нами.
Q7: каков ваш основной рынок?
A: Восточная Европа, Юго-Восточная Азия, Африка, Океания, Средний Восток, Восточная Азия, Западная Европа, Северная Америка, Южная Америка и так далее.
Q8: Что я могу получить от сотрудничества?
1. Уникальные клапаны с индивидуальным обслуживанием.
2. Своевременное изготовление и поставка, время - деньги.
3. Служба защиты рынка, долгосрочная бизнес-стратегия.
Если у вас есть какие-либо вопросы или вопросы, пожалуйста, свяжитесь с нами.
Получить предложение
Если вас интересуют наши продукты и вы хотите узнать больше деталей, пожалуйста, оставьте сообщение здесь, мы ответим вам как можно скорее.





