Фильтры форма Y
Средняя температура: 300 ℃
Разница рабочего давления:2 кг
Материал:нержавеющая сталь
Имя продукта: фильтр типа Y
Материалы основных деталей
Корпус:сталь 20,20ГЛ, 304,316L
Сетки:сталь 20,20ГЛ, 304,316L
Фильтр типа Y является средой трубопроводной системы, необходимой для фильтрационного устройства,Фильтр типа Y обычно устанавливается в редукционном клапане, рельефном клапане и входном клапане или другом оборудовании, используемом для удаления примесей в среде, для защиты нормального использования клапанов и оборудования. Фильтр типа Y имеет передовую структуру, небольшое сопротивление и легкий дренаж и т.д. Фильтр типа Y подходит для воды, нефти и газа. Как правило, водная сеть составляет 18 ~ 30 мю, вентиляционная сеть составляет 10 ~ 100 сетей, масляная сеть 100 ~ 480 сетей. Корзинный фильтр в основном состоит из поглощения, директора, синего фильтра, фланца, крышки фланца и крепежных элементов и т.д. Когда жидкость по supervisorInto фильтр могут твердые частицы примеси будутзаблокирован после синего внутри синего фильтра, и чистая жидкость через синий фильтр, выход фильтра
Средняя температура: 300 ℃
Разница рабочего давления:2 кг
Материал:нержавеющая сталь
Имя продукта: фильтр типа Y
Сфера применения:фильтрация жидкости
Подключение:фланца
Тип: прямой угол
Направление потока: односторонний
Применимая среда:вода
Давление:атмосферное давление
Материалы основных деталей
Корпус:сталь 20,20ГЛ, 304,316L
Сетки:сталь 20,20ГЛ, 304,316L

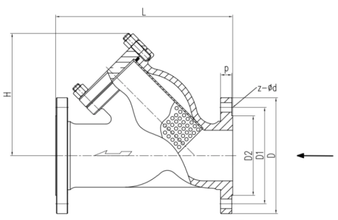
Основные технические характеристики
| PN | DN | L | D | D1 | D2 | b | Z-Φd | H |
| 1.6MPa | 15 | 130 | 95 | 65 | 45 | 14-2 | 4-φ14 | 60 |
| 20 | 145 | 105 | 75 | 55 | 14-2 | 4-φ14 | 70 | |
| 25 | 150 | 115 | 85 | 65 | 14-2 | 4-φ14 | 70 | |
| 32 | 180 | 135 | 100 | 78 | 16-2 | 4-φ18 | 75 | |
| 40 | 200 | 145 | 110 | 85 | 16-3 | 4-φ18 | 90 | |
| 50 | 220 | 160 | 125 | 100 | 16-3 | 4-φ18 | 105 | |
| 65 | 250 | 180 | 145 | 120 | 18-3 | 4-φ18 | 150 | |
| 80 | 280 | 195 | 160 | 135 | 20-3 | 8-Φ18 | 175 | |
| 100 | 300 | 215 | 180 | 155 | 20-3 | 8-φ18 | 200 | |
| 125 | 350 | 245 | 210 | 185 | 22-3 | 8-φ18 | 205 | |
| 150 | 380 | 280 | 240 | 210 | 24-3 | 8-φ23 | 260 | |
| 200 | 480 | 335 | 295 | 265 | 26-3 | 12-φ23 | 300 | |
| 250 | 550 | 405 | 355 | 320 | 30-3 | 12-φ25 | 380 | |
| 300 | 610 | 460 | 410 | 375 | 30-4 | 12-φ25 | 410 |
Информационые обмены

Мы активно участвуем в различных отраслевых выставках, встречах по обмену и т. Д., Глубоко понимаем динамику отраслевых продуктов, онлайн-общение и проверки на местах, а также активно работаем над оптимизацией продуктов и техническими обновлениями, чтобы лучше соответствовать различным потребностям клиенты.Упаковка, доставка и оплата

Часто задаваемые вопросы
Q1:Какой срок производства ?
A.Это зависит от объема заказа.Обычно на ходовые позиции нужно 30 дней , если в складу есть в
наличии , сможем отправлять в течении 5-7 дней .
Q2: вы являетесь торговая компания или производитель?
A: Мы являемся производителем по запорной арматуре.
Q3: Можете ли вы производить по нашим чертежам?
A: Да, пожалуйста, отправьте нам свой собственный черновик. OEM-товары приветствуются.
Q4: У вас есть агент или представитель за границей?
A: У нас нет агента за границей.
Q5: Сможем ли мы отливать логотип на изделиях ?
A: Да, OEM доступен с разрешения наших клиентов.
Q6:какая у вас условия оплаты?
A: T / T или L / C, если вам нужен другой способ, пожалуйста, свяжитесь с нами.
Q7: каков ваш основной рынок?
A: Восточная Европа, Юго-Восточная Азия, Африка, Океания, Средний Восток, Восточная Азия, Западная Европа, Северная Америка, Южная Америка и так далее.
Q8: Что я могу получить от сотрудничества?
1. Уникальные клапаны с индивидуальным обслуживанием.
2. Своевременное изготовление и поставка, время - деньги.
3. Служба защиты рынка, долгосрочная бизнес-стратегия.
Если у вас есть какие-либо вопросы или вопросы, пожалуйста, свяжитесь с нами.
Получить предложение
Если вас интересуют наши продукты и вы хотите узнать больше деталей, пожалуйста, оставьте сообщение здесь, мы ответим вам как можно скорее.



