Клапаны обратные поворотные DN 20-600 РN 40
Диаметр условного проход:от 50 до 600 мм
Условное давление:4.0 МПА
Рабочая среда:Вода, пар, нефтявые продукты
Температура рабочей среды:До 425 градусов (углеродистые стали)
До 525 градусов (нержавеющие стали)
Класс герметичности: C по Гост 9544-2015
Диаметр условного прохода:от 50 до 600 мм
Условное давление:4.0 МПА
Рабочая среда:Вода, пар, нефтявые продукты
Температура рабочей среды:До 425 градусов (углеродистые стали)
До 525 градусов (нержавеющие стали)
Класс герметичности: C по Гост 9544-2015
Конструкция:Обратный поворотный
Материал корпуса:углepoдиctaя сталь(с), легированная сталь(лс),нержавеющая сталь (нж)
Тип управления:Самостоятельно
Материал Уплотнение:меттал по метталу(нж)
Тип присоединение:фланцевое, под приварку
| Маркировка | 19c53нж | 19лc53нж | 19нж53нж |
Материалы основных деталей
Корпус:Сталь 20Л, 25Л,20ГЛ,12Х18Н9,12Х18Н9ТЛ,10Х17Н13М2Т
Захлопка:Сталь 20Л, 25Л,20ГЛ,12Х18Н9,12Х18Н9ТЛ,10Х17Н13М2Т
Крышка:Сталь 20Л, 25Л,20ГЛ,12Х18Н9,12Х18Н9ТЛ,10Х17Н13М2Т
Прокладка:ТРГ
Наплавка на клине:Сталь 20х13,Сталь 547 (Mo),Стеллик
Наплавка на корпусе:Сталь 20х13,Сталь 547 (Mo),Стеллик

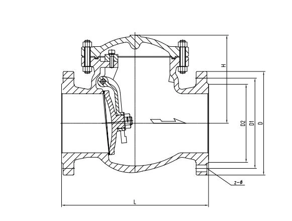
Основные технические характеристики
| PN | DN | L | D | D1 | D2 | z-ф | H |
| 40 | 20 | 150 | 105 | 75 | 55 | 4-Φ14 | 100 |
| 40 | 25 | 160 | 115 | 85 | 65 | 4-Φ14 | 100 |
| 40 | 32 | 180 | 135 | 100 | 78 | 4-Φ18 | 105 |
| 40 | 40 | 200 | 145 | 110 | 85 | 4-Φ18 | 115 |
| 40 | 50 | 230 | 160 | 125 | 100 | 4-Φ18 | 135 |
| 40 | 65 | 290 | 180 | 145 | 120 | 4-Φ18 | 140 |
| 40 | 80 | 310 | 195 | 160 | 135 | 8-Φ18 | 145 |
| 40 | 100 | 350 | 230 | 190 | 160 | 8-Φ23 | 165 |
| 40 | 125 | 400 | 270 | 220 | 188 | 8-Φ25 | 250 |
| 40 | 150 | 480 | 300 | 250 | 218 | 8-Φ25 | 295 |
| 40 | 200 | 550 | 375 | 320 | 282 | 12-Φ30 | 315 |
| 40 | 250 | 650 | 445 | 385 | 345 | 12-Φ34 | 430 |
| 40 | 300 | 750 | 510 | 450 | 408 | 16-Φ34 | 480 |
| 40 | 350 | 850 | 570 | 510 | 465 | 16-Φ34 | 500 |
| 40 | 400 | 950 | 655 | 585 | 535 | 16-Φ41 | 520 |
| 40 | 450 | 1050 | 680 | 610 | 560 | 20-Φ41 | 580 |
| 40 | 500 | 1150 | 755 | 670 | 612 | 20-Φ48 | 630 |
| 40 | 600 | 1350 | 890 | 795 | 730 | 20-Φ54 | 780 |
Информационые обмены

Мы активно участвуем в различных отраслевых выставках, встречах по обмену и т. Д., Глубоко понимаем динамику отраслевых продуктов, онлайн-общение и проверки на местах, а также активно работаем над оптимизацией продуктов и техническими обновлениями, чтобы лучше соответствовать различным потребностям клиенты.Упаковка, доставка и оплата

Часто задаваемые вопросы
Q1:Какой срок производства ?
A.Это зависит от объема заказа.Обычно на ходовые позиции нужно 30 дней , если в складу есть в
наличии , сможем отправлять в течении 5-7 дней .
Q2: вы являетесь торговая компания или производитель?
A: Мы являемся производителем по запорной арматуре.
Q3: Можете ли вы производить по нашим чертежам?
A: Да, пожалуйста, отправьте нам свой собственный черновик. OEM-товары приветствуются.
Q4: У вас есть агент или представитель за границей?
A: У нас нет агента за границей.
Q5: Сможем ли мы отливать логотип на изделиях ?
A: Да, OEM доступен с разрешения наших клиентов.
Q6:какая у вас условия оплаты?
A: T / T или L / C, если вам нужен другой способ, пожалуйста, свяжитесь с нами.
Q7: каков ваш основной рынок?
A: Восточная Европа, Юго-Восточная Азия, Африка, Океания, Средний Восток, Восточная Азия, Западная Европа, Северная Америка, Южная Америка и так далее.
Q8: Что я могу получить от сотрудничества?
1. Уникальные клапаны с индивидуальным обслуживанием.
2. Своевременное изготовление и поставка, время - деньги.
3. Служба защиты рынка, долгосрочная бизнес-стратегия.
Если у вас есть какие-либо вопросы или вопросы, пожалуйста, свяжитесь с нами.
Получить предложение
Если вас интересуют наши продукты и вы хотите узнать больше деталей, пожалуйста, оставьте сообщение здесь, мы ответим вам как можно скорее.



